威尼斯人黑分21w,不给提款

gurnge 2023-7-16 5879

平台官网:
被黑金额:

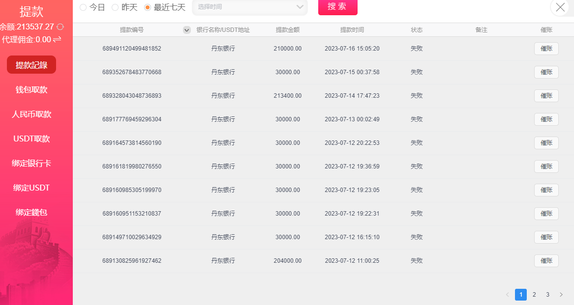
www.0766.com,7月2日首存5w,盈利7000,提款5.7w就审核不给提款,目前账户余额21w,被冻结不能转账到游戏厅,客服回复只有正在审核,是个黑台子,只能输不能赢,赢了就不给提款,代理都是用阳寿在干.

本站声明 1、本帖标题:威尼斯人黑分21w,不给提款
2、本站网址:https://fxw11.xyz/
3、本站资源均来自互联网-需自行判断与负责。每日更新(论坛内容仅用于 薅羊毛 白嫖 论坛严禁充值娱乐 严禁任何形式推广 发现一律提交当地公安 )感谢您的支持!
4、本站由菲律宾华人分享网公司运营,本站运营非盈利机构,请您满足18+ 后进行访问并确保你所在的当地区支持相关的游戏管理 支付、及支持服务等事宜, 游戏易上瘾,请注意节制。

最新回复 (6)
  • 天少 2024-4-20
    0 7
    我要,63724829  加我,洗出来  55  分
  • gurnge 2023-8-13
    0 6
    @慕杨大魔王    其实我最多打到50W,出了30W黑分还盈利1W,总比你这傻逼输的裤衩都不剩好
  • 慕杨666 2023-7-20
    0 5
    人傻钱多的玩意
  • 萨姆 2023-7-16
    0 4
    666这种台你敢充五万,你不如充点欢乐豆玩起来还多一点
  • 拉拉队 2023-7-16
    0 3
    不能藏分吗
    • 【分享网】
      8
返回
发新帖
本站杜绝一切以赌博获利的存在,所有项目均来自互联网转载。收录内容真实性需自行判断,如出现任何问题本站免责。感谢理解。